17512  documentos en la base de datos
Convenios por Federación
♦ FICA
♦ FeSMC
♦ FeSP
 

CONSEJERÍA DE EMPLEO

 

Resolución de 3 de mayo de 2012, de la Dirección General de Trabajo, por la que se ordena la inscripción, depósito y publicación del Convenio Colectivo de la empresa que se cita.

Visto el texto del Convenio Colectivo de la Empresa Halia Servex, S.L. (Cód. 71100152012012), recibido en esta Dirección General de Trabajo en fecha 13 de abril de 2012, suscrito por la representación de la empresa y la de los trabajadores con fecha 27 de febrero de 2012 y de conformidad con lo dispuesto en el artículo 90.2 y 3 del Texto Refundido del Estatuto de los Trabajadores, Real Decreto 713/2010, de 28 de mayo, sobre Registro y Depósito de Convenios Colectivos de Trabajo, Real Decreto 4043/1982, de 29 de diciembre, sobre traspaso de competencias, y Decreto del Presidente 14/2010, de 22 de marzo, sobre reestructuración de Consejerías, en relación con el Decreto 136/2010, de 13 de abril, por el que se establece la estructura orgánica de la Consejería de Empleo y del Servicio Andaluz de Empleo, esta Dirección General de Trabajo

Resuelve

Primero. Ordenar el registro, depósito y publicación del Convenio Colectivo conforme al artículo 8 del Real Decreto 713/2010, de 28 de mayo, en el Registro de Convenios Colectivos de Trabajo de ámbito interprovincial con notificación a la Comisión Negociadora.

Segundo. Disponer la publicación de dicho Convenio en el Boletín Oficial de la Junta de Andalucía.

Sevilla, 3 de mayo de 2012.- El Director General, Daniel Alberto Rivera Gómez.

 

CONVENIO COLECTIVO DE TRABAJO DE LA EMPRES A HALIA SE RVEX

 

Capítulo primero. Ámbito de aplicación.

Artículo 1. Objeto.

Las normas que integran el presente Convenio regulan las relaciones de trabajo entre la Empresa Halia Servex y sus trabajadores.

Artículo 2. Ámbito territorial y funcional.

El presente Convenio será de aplicación a todos los Centros de Trabajo de la empresa Halia Servex que tiene constituidos en las Provincias de Sevilla y Málaga y todos aquellos que sean de nueva creación.

Artículo 3. Ámbito personal.

Las normas contenidas en el presente Convenio afectan a todos los trabajadores fijos, interinos, eventuales o temporales que desempeñen sus actividades en las Instalaciones de la Empresa Halia Servex y fuera de ella por cuenta de la propia empleadora.

Artículo 4. Ámbito temporal y cláusula denuncia convenio.

El presente Convenio Colectivo, entrará en vigor en el momento de la firma del mismo por las partes negociadoras.

Los efectos retributivos se aplicarán a partir del 1 de enero de 2012.

Su periodo de vigencia será de cinco años, es decir, por un periodo comprendido entre 1 de enero de 2012 al 31 de diciembre de 2016.

A los efectos de dar cumplimiento a lo previsto en el artículo 85, apartado 3, letra d), del R.D.L. 1/95, ambas partes acuerdan, en cuanto a las condiciones y formas de denuncia del presente convenio, se establece como fecha ultima de preaviso para dicha denuncia la del día 30 de mayo de 2016, resultando de aplicación lo dispuesto en el artículo 86.3 del Estatuto de los Trabajadores, en su redacción vigente al momento de firma del convenio colectivo.

Capítulo segundo. Comisión Paritaria.

Artículo 5. De la Comisión Paritaria.

Se constituye una Comisión Paritaria integrada por tres representantes de la Empresa y tres de los trabajadores, cuya misión esencial es la de interpretar, conciliar, arbitrar y vigilar los problemas que de la aplicación del Convenio se deriven, así como de cuantas otras actividades tiendan a la eficacia práctica del presente Convenio.

Será función en especial de la Comisión Paritaria, la mediación-arbitraje y conciliación en los Conflictos Colectivos derivados entre empresa y trabajadores; siendo imprescindible y con carácter previo a la vía jurisdiccional. Caso de haberse intentado la Conciliación y no haber alcanzado solución al Conflicto Colectivo, deberá acreditarse con carácter previo mediante Certificación emitida por la Comisión Paritaria el intento de conciliación.

La Comisión Paritaria celebrará con carácter ordinario una reunión semestral y con carácter extraordinario cuando lo solicite alguna de las partes. En la primera sesión se acordará el contenido sobre el modo de funcionamiento y procedimiento de actuación de dicha Comisión Paritaria.

Capítulo tercero. Organización del trabajo.

Artículo 6. Facultades Organizativas.

La Organización del trabajo, así como la determinación de Centros de Trabajo, grupos, sectores y departamentos y servicios que se estimen convenientes es facultad y responsabilidad de la Empleadora. No obstante lo anterior, los representantes legales de los trabajadores tendrán derecho a ser informados previamente pudiendo sugerir y emitir informes con cuantas ideas consideren más beneficiosas para la organización del mismo.

El control de la actividad laboral viene determinado por lo dispuesto en el artículo 20 del Estatuto de los Trabajadores.

Capítulo cuarto. Clasificación del personal, catálogo de puestos de trabajo y relación de personal.

Artículo 7. Clasificación del personal por su permanencia.

En razón de la permanencia, el personal que preste servicios para la empresa, se clasificará en fijo, eventual o de duración determinada, interino y temporal.

Tiene el carácter de Personal Fijo aquel que resulte unido a Halia Servex. por medio de un contrato indefinido y haya superado el periodo de prueba.

El personal con contratos de duración determinada, se regirán por lo dispuesto en el Artículo 15 del Estatuto de los Trabajadores y normas reglamentarias que lo desarrollen.

Se establece una duración máxima para los contratos de acumulación de tareas de 12 meses dentro de un periodo de 18 meses.

Asimismo el personal contratado bajo la modalidad de contratos formativos, se regirán por lo previsto en el artículo 11 del Estatuto de los Trabajadores y normas que los desarrollen.

La empresa facilitará a los representantes de los trabajadores una copia básica de todos los contratos que se celebren por escrito, exceptuando los contratos de relación laboral especial de alta dirección.

La copia básica se entregará por la empresa en un plazo no superior a los diez días desde la formalización del contrato.

Artículo 8. Clasificación del personal según su función.

El personal de la empresa Halia Servex, se encuadrará, de acuerdo con la naturaleza del trabajo que realiza, en los siguientes grupos profesionales.

1º Personal Técnico.

2º Personal de Administración.

3º Personal de Producción.

4º Personal de Distribución.

5º Personal comercial.

6º Personal subalterno.

7º Personal obrero.

Las subclases que integran cada grupo y enumeración de las funciones de los puestos de trabajo, así como sus definiciones, quedan reflejadas en el Anexo I del presente Convenio.

Capítulo quinto. Provisión de plazas.

Artículo 9. Ingresos. Período de prueba.

Las admisiones de personal se considerarán provisionalmente durante un periodo de prueba, que no podrá exceder del que señala la siguiente escala, quedando a salvo las posibilidades de establecer plazos superiores cuando la normativa laboral así lo permita para determinado colectivo de trabajadores:

Técnicos titulados de grado medio y superior: 6 meses.

Jefes Específicos y Encargados: 3 meses.

Personal Administrativo: 2 meses.

Personal operario y subalterno: 2 meses.

Durante el período indicado, tanto el trabajador como la empresa podrán, respectivamente, desistir de la prueba y proceder a la resolución del contrato sin plazo de preaviso y sin que ninguna de las dos partes tenga por ello derecho a indemnización.

La situación de Incapacidad Temporal, Maternidad, Paternidad, Riesgo durante el embarazo, y adopción o acogimiento, que afecten al trabajador durante el periodo de prueba no interrumpe el cómputo del mismo.

Artículo 10. Ceses.

Los trabajadores que cesen voluntariamente en la empresa, vendrán obligados a ponerlo en conocimiento de la Dirección, cumpliendo como mínimo los siguientes plazos de preaviso:

Personal Técnico y de Administración: 1 mes.

Personal de Producción y Distribución: 15 días hábiles.

En caso contrario, perderán un día de salario por cada día de retraso en el aviso, a deducir de la liquidación que se practique o hasta donde alcance ésta.

Capítulo sexto. Jornada de trabajo, vacaciones y permisos.

Artículo 11. Jornada.

1. La jornada máxima anual queda establecida en 1.800 horas de trabajo efectivo, repartidas en jornadas de cinco días semanales, salvo festivos entre semana, con dos días de descanso a la semana, uno de ellos sábado, siendo éste el día de común disfrute para todos los trabajadores; pudiendo la empresa optar entre el domingo y lunes a su conveniencia para determinar el otro día de descanso.

2. En ningún caso se podrá realizar más de nueve horas ordinarias de trabajo efectivo diario. En todo caso entre el final de la jornada y el comienzo de la siguiente, mediarán como mínimo doce horas.

Los trabajadores menores de dieciocho años no podrán realizar más de ocho horas diarias de trabajo efectivo, incluyendo en su caso el tiempo dedicado a la formación.

3. El tiempo de trabajo se computará de modo que, tanto el comienzo como el final de la jornada diaria, el trabajador se encuentre en su puesto de trabajo.

4. En las jornadas continuadas el tiempo de presencia será ampliado en quince minutos o más por día para tomar el bocadillo.

En el supuesto de que exista un festivo entre semana, éste será disfrutado por los trabajadores y cuando por motivos organizativos no se permita el segundo día de descanso, dentro de la semana o del a semana anterior (sábado) o posterior (lunes), éste será distribuido como horas extraordinarias.

Se exceptúa el régimen de semana de cinco días de trabajo efectivo al personal de trasporte, no entendiéndose incluidos en esta excepción los conductores –repartidores, sus auxiliares, personal de mantenimiento y vigilancia.

Dentro de la jornada establecida en cinco días/semana podrá producirse la distribución irregular de las jornadas, sin más limitaciones que las establecidas en la Ley.

5. Halia Servex, previa audiencia de los representantes de los trabajadores, confeccionará anualmente un calendario laboral en el que se fijarán los días de trabajo, teniendo en cuenta las fiestas de carácter nacional, autonómicas y locales.

Con el fin de preservar el empleo y adecuar la capacidad productiva de la empresa con la carga de trabajo existente en cada momento, se establece una flexibilidad de 100 horas/año. Dicha jornada flexible se regulará de la siguiente forma:

1. El calendario laboral se confeccionará sobre la base de las horas anuales de trabajo efectivo de cada año.

2. La empresa podrá, alegando razones de carácter técnico, organizativo y/o productivo, disponer de hasta 100 horas/año del citado calendario anual, variando la distribución de jornada inicialmente establecido sin sobrepasar el límite que como jornada diaria ordinaria fija la legislación y que actualmente está fijada en 9 horas, salvo acuerdo entre las partes, y sin más requisitos que los siguientes:

a) La empresa preavisará con un mínimo de 24 horas a los representantes de los trabajadores y a los trabajadores afectados individualmente, del uso de las mismas.

b) E l disfrute compensatorio de dichas horas deberá realizarse dentro del año natural, con reducciones de jornada no inferior a cuatro horas, coincidiendo en este último caso a la finalización de la misma. Reducciones que se disfrutará cuando las necesidades productivas de la empresa lo permitan.

c) L a disponibilidad horaria, así como el disfrute compensatorio del descanso, tendrán cómputo anual, de tal forma que procederá indistintamente la mayor o menor realización de jornada en función de los distintos periodos de actividad empresarial, por lo que la compensación podrá producirse con carácter previo o con posterioridad al periodo o periodos con mayor carga de trabajo

Artículo 12. Comienzo y finalización de la jornada.

Las horas señaladas en los horarios de trabajo como de comienzo de la jornada deberán ser en condiciones de realizar el trabajo efectivo, es decir, con ropas, herramientas y demás útiles, y en el puesto de trabajo. De la misma manera se procederá al final de la jornada.

Artículo 13. Horas extraordinarias.

Tendrán la consideración de horas extraordinarias aquellas horas de trabajo que se realicen sobre la duración máxima de la jornada ordinaria de trabajo prevista en el artículo 11 del presente Convenio Colectivo.

El número de horas extraordinarias no podrá ser superior a ochenta al año, salvo el exceso de horas trabajadas para prevenir o reparar siniestros u otros daños extraordinarios y urgentes.

En cuanto a la compensación económica por la realización de horas extraordinarias, esta será el valor de la hora ordinaria, incrementada en un 25%.

Artículo 14. Vacaciones.

El periodo de vacaciones retribuidas del personal será de 22 días laborables, cualquiera que sea la categoría o grupo profesional al que se pertenezca, y como norma general se disfrutarán en el periodo estival, salvo que, por circunstancias de la producción, aconsejen el disfrute en otra estación. Se podrá fraccionar el disfrute de las mismas.

El personal de nuevo ingreso o cese definitivo en el transcurso del año tendrá derecho a la parte proporcional de vacaciones, según el número de días trabajados.

El periodo de disfrute, será pactado entre empresa y representantes de los trabajadores. A tal efecto se tendrá en cuenta que, fijado el periodo vacacional de la plantilla, su disfrute será inexcusablemente en la acotación temporal fijada y ello motivado por razones organizativas y de producción. El sometimiento a la acotación temporal determinada por las partes, lo será para la totalidad de la plantilla.

Las vacaciones deberán ser disfrutadas siempre dentro del año natural correspondiente, sin que puedan ser compensadas en metálico, en todo ni en parte, salvo cuando hallándose pendiente, su cumplimiento, se de término a la relación laboral.

Cuando el período de vacaciones fijado en el calendario de vacaciones coincida en el tiempo con una Incapacidad Temporal, sea cual fuere su contingencia y acaecida antes de la fecha prevista para su inicio, el trabajador afectado, una vez dado de alta médica, tiene derecho a disfrutar los días de vacaciones no disfrutados en fechas distintas a las preestablecidas, incluso habiendo concluido el año natural a que correspondan.

Asimismo, cuando el período de vacaciones fijado en el calendario de las vacaciones, coincida en el tiempo con una Incapacidad Temporal derivada del embarazo, el parto o la lactancia natural o con el periodo de suspensión del contrato de trabajo previsto en el artículo 48.4 del Estatuto de los Trabajadores, se tendrá derecho a disfrutar las vacaciones en fecha distinta a la de la Incapacidad Temporal o a la del disfrute del permiso correspondiente, al finalizar el periodo de suspensión, aunque haya terminado el año natural a que correspondan.

Artículo 15. Permisos, licencias y excedencias.

Los trabajadores de Hallia Servex tendrán derecho a disfrutar licencias y permisos retribuidos con la totalidad del salario, previa la consiguiente solicitud o comunicación, durante los días naturales que a continuación se indican:

a) Por quince días naturales en caso de matrimonio. En el supuesto de que por el trabajador se pretendiera acumular la licencia a las vacaciones anuales, esta acumulación será posible si mediara acuerdo entre empresa y trabajador.

b) Durante dos días en los casos de nacimiento de hijo y por el fallecimiento, accidente o enfermedad graves, hospitalización o intervención quirúrgica sin hospitalización que precise reposo domiciliario, de parientes hasta segundo grado de consanguinidad o afinidad. Cuando con tal motivo el trabajador necesite hacer un desplazamiento al efecto, el plazo será de cuatro días. Se entenderá por desplazamiento cuando este se efectúe fuera de la provincia de su Centro de Trabajo.

c) Por boda de hijos, padres o hermanos, un día si es dentro de la provincia y dos si es fuera.

d) Por traslado de domicilio habitual, un día si es dentro de la localidad y dos si es fuera, debiendo de justificarse.

e) Por el tiempo indispensable, para el cumplimiento de un deber inexcusable de carácter público y personal.

Cuando el cumplimiento del deber antes referido suponga la imposibilidad de la prestación del trabajo debido en más del 20 por ciento de las horas laborales en un periodo de tres meses, podrá la empresa pasar al trabajador afectado a la situación de excedencia regulada en el apartado 1 del artículo 46 de la Ley del Estatuto de los Trabajadores.

En el supuesto de que el trabajador por cumplimiento del deber o desempeño del cargo perciba una indemnización, se descontará del importe de la misma del salario a que tuviera derecho en la empresa.

f) Para realizar funciones sindicales o de representación del personal en los términos establecidos en el Estatuto de los Trabajadores y Ley Orgánica de Libertad Sindical.

g) Cuando por razón de enfermedad y previo aviso y justificación con al menos 48 horas, salvo supuestos de fuerza mayor, el trabajador precise la asistencia sanitaria a consultorio médico, en horas coincidentes con las de la jornada laboral, la empresa concederá sin pérdida de retribución, el permiso necesario por el tiempo preciso al efecto, debiendo de justificar el mismo con el correspondiente volante visado por el facultativo delServicio Público de Salud.

Dicho permiso asimismo se concederá cuando un hijo menor de edad del trabajador precise asistencia sanitaria en los mismos términos y condiciones expresadas en el párrafo anterior. En el supuesto que tanto el padre como la madre trabajen en la empresa, dicho permiso se concederá únicamente a uno de ellos.

En lo no regulado en el presente artículo se estará a lo previsto en el artículo 37 del Estatuto de los Trabajadores.

En materia de licencias no retribuidas:

Podrán autorizarse, siempre que queden a salvo las necesidades del servicio a criterio de la empresa, licencias no retribuidas de hasta 1 mes de duración dentro del año natural, en los casos siguientes:

a) Adopción en el extranjero.

b) Sometimiento a técnicas de reproducción asistida.

c) Hospitalización prolongada por enfermedad grave del cónyuge o de parientes hasta el primer grado de consanguinidad o afinidad.

d) Acompañamiento en la asistencia médica de familiares hasta el primer grado de consanguinidad o afinidad con enfermedad crónica o discapacidades graves.

En supuestos excepcionales, por razones de orden familiar debidamente acreditadas, podrá estudiarse la ampliación del citado mes de licencia.

En materia de excedencias:

En el supuesto de excedencias solicitadas para el cuidado de familiares hasta el segundo grado de consanguinidad o afinidad, que por razones de edad, accidente o enfermedad no puedan valerse por sí mismos, y no desempeñen actividad retribuida, se establece la posibilidad de ampliar la duración de la misma hasta los tres años.

Capítulo séptimo. Movilidad funcional, geográfica y comisiones de servicio.

Artículo 16. Movilidad funcional.

Por lo que respecta a la movilidad funcional, se estará a lo dispuesto en el artículo 39 del Estatuto de los Trabajadores.

Artículo 17. Movilidad geográfica.

Por lo que respecta a la movilidad geográfica, se estará a lo dispuesto en el artículo 40 del Estatuto de los Trabajadores.

Artículo 18. Comisiones de servicio.

Por necesidades del servicio, la Dirección de la Empresa, podrá desplazar a su personal fuera del lugar donde habitualmente desarrolle su actividad.

Los trabajadores desplazados en comisión de servicios percibirán, además de su retribución ordinaria, los gastos originados por el trasporte y las dietas correspondientes.

En los días de salida y llegada devengarán dieta entera; de existir posibilidad de regreso al lugar de residencia en el día en que el trabajador se desplace, devengarán solamente media dieta.

Capitulo octavo. Retribución.

Artículo 19. Régimen de retribuciones.

La retribución del personal de Halia Servex, estará estructurada por los siguientes conceptos:

A) Salario base.

B) Complementos salariales:

Personales.

De vencimiento superior al mes.

Para el Primer año de vigencia, es decir del 1 de enero al 31 de diciembre de 2012, la retribución pactada es la que figura en el Anexo II del presente Convenio.

Para el segundo año de vigencia (1.1.2013 al 31.12.2013), la retribución salarial experimenta un incremento salarial del 1,00% sobre las tablas del año 2012, siendo la que figura en el Anexo III del presente Convenio.

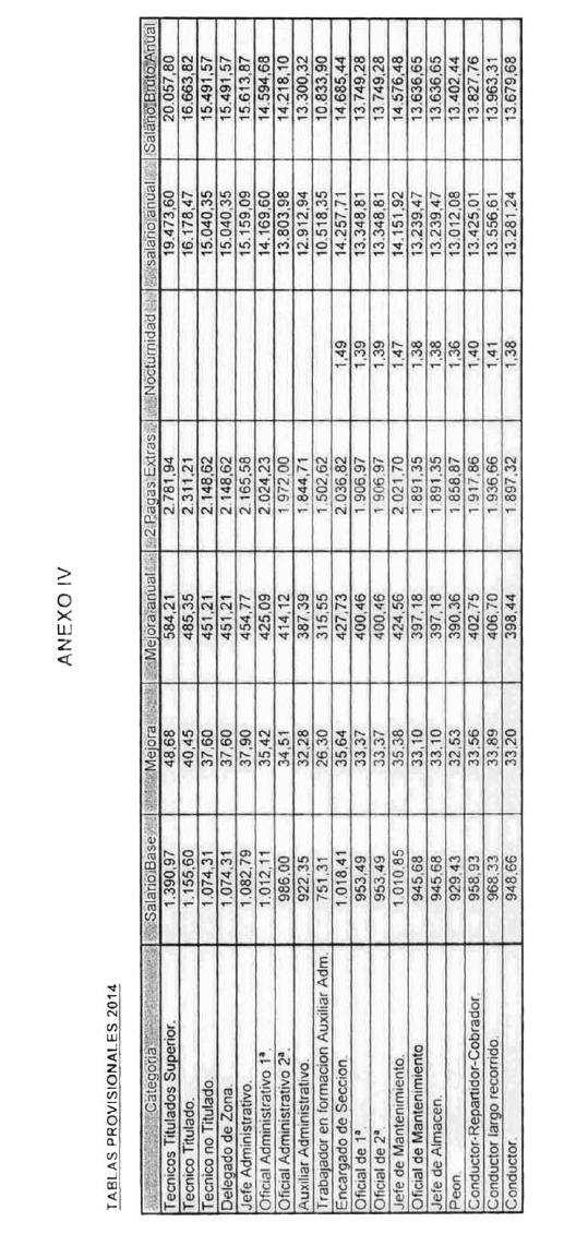
Para el tercer año de vigencia (1.1.2014 al 31.12.2014), la retribución salarial experimentará un incremento salarial del 1,00% sobre las tablas del año 2013.

Para el año 2014 y posteriores, en el supuesto de que el incremento anual del IPC, registre al 31 de Diciembre de 2014, un incremento superior al 1%, los salarios se incrementarán hasta alcanzar el IPC del año 2014 definitivo, produciéndose la revisión salarial. Si se produjese dicho incremento, la diferencia salarial, se hará efectiva a la plantilla, así como la cotización a la Seguridad Social por dicho incremento en fecha límite al 31 de marzo del 2015.

Artículo 20. Salario base.

Es la parte de retribución por unidad de tiempo y estará constituido por el valor que para cada nivel se establece en este Convenio y cuya cuantía para el primer año de vigencia (2.012) figura recogida en el Anexo II.

Artículo 21. Complementos personales.

Tendrán la consideración legal de complementos personales los siguientes conceptos retributivos:

a) Complemento por nocturnidad: El personal que preste sus servicios en el turno nocturno (de 22,00 horas a 6,00 horas) percibirá un plus denominado «Plus Nocturnidad» cuyo importe será el equivalente al 25% del Salario Base. Idéntico Plus será abonado al personal de limpieza que preste servicios desde las 22,00 horas y hasta las 06,00 horas.

b) Mejora por asistencia, que se cuantifica en los Anexos retributivos, a aquellos trabajadores que hayan desempeñado sus funciones durante el mes en curso, sin haber causado baja por Incapacidad Temporal derivada de enfermedad común o hayan tenido menos de dos asistencias medicas y hayan cumplido puntualmente el horario de entrada al puesto de trabajo. Entendiéndose por puntualidad, un retraso inferior a cinco minutos en la hora de incorporación a su puesto de trabajo, es decir, vestido con la indumentaria adecuada y aprovisionado de todos los útiles necesarios para el desempeño del puesto de trabajo. En cualquier caso, la falta de puntualidad podrá ser además sancionada por la empresa.

Artículo 22. De vencimiento periódico superior al mes.

Pagas extraordinarias de Junio y Diciembre: Consistirán cada una de ellas en el pago de treinta días de Salario Base, abonándose con la nómina del 15 de julio y 15 de diciembre respectivamente.

Se acuerda la posibilidad de que dichas pagas extraordinarias se prorrateen en las doce mensualidades.

Al personal que ingrese o cese en la empresa en el transcurso del año, se le abonarán las pagas extraordinarias en razón al tiempo trabajado. El personal con jornada reducida o que trabaje por horas, percibirá las pagas extraordinarias en proporción al tiempo trabajado.

El personal en situación de baja por Incapacidad Temporal (cualquiera que sea su contingencia), Maternidad, Paternidad, Riesgo durante el Embarazo, Riesgo durante la Lactancia Natural percibirá las pagas extraordinarias en función del tiempo realmente trabajado. En las pagas extraordinarias no se devengará la parte proporcional a faltas de asistencia injustificadas.

Artículo 23. Complemento por situación de Baja por Incapacidad Temporal.

Para mejorar la posición de los trabajadores en situación de baja por Incapacidad Temporal, causada por contingencias profesionales, la empresa abonará, sobre las prestaciones de la Seguridad Social, los siguientes complementos:

1. En los casos de enfermedad común o accidente no laboral del trabajador, debidamente comprobados, con duración superior a 20 días y solo a partir del 21, la empresa abonara al trabajador la diferencia entre la prestación de la Seguridad Social o Mutua patronal y el 100% del salario que viniera percibiendo conforme a convenio. Dicho complemento se percibirá siempre que el índice de absentismo individual del trabajador no supere el 5% en el año natural anterior a la baja.

2. Cuando la incapacidad temporal, debidamente acreditada, sea consecuencia de accidente de trabajo o enfermedad profesional, o enfermedad común o accidente no laboral que precisen hospitalización, la empresa abonara el complemento necesario para que, juntamente con la prestación económica de la Seguridad Social o Mutua patronal, el trabajador perciba el 100% del salario que viniera percibiendo conforme a convenio.

La Empresa podrá verificar el estado del trabajador mediante reconocimiento médico, la negativa del trabajador a dicho reconocimiento determinará la suspensión del derecho económico a cargo de la empresa.

Artículo 24. Forma de pago.

El pago de salarios se efectuará mediante transferencia o cheque bancario.

Capítulo noveno. Prevención de riesgos laborales.

Artículo 25. Principios de Seguridad Preventiva.

Se observarán las normas para seguridad e higiene en el trabajo contenidas en la Ley 31/1995, de 8 de noviembre, de Prevención de Riesgos Laborales, así como las disposiciones que la desarrollan.

Las partes firmantes manifiestan su compromiso formal con la seguridad y salud de los trabajadores, estableciendo como objetivo la protección de los mismos frente a los riesgos derivados del trabajo. Para la consecución de dicho objetivo es necesario el establecimiento y planificación de una gestión preventiva en la empresa. Dicha gestión preventiva se enmarcará dentro del ámbito de la Ley 31/1995, de 8 de noviembre, de Prevención de Riesgos Laborales y demás disposiciones de desarrollo que la completen.

A tal efecto se deberán observar, sin perjuicio de los demás requerimientos legales, las siguientes obligaciones:

a) Vigilancia de la salud: Halia Servex, S.L., garantizará a los trabajadores a su servicio la vigilancia periódica de su estado de salud en función de los riesgos inherentes al trabajo. Esta vigilancia solo podrá llevarse a cabo cuando el trabajador preste su consentimiento, todo ello sin perjuicio de las excepciones previstas en el artículo 22 de la LPRL.

b) Evaluación de riesgos:

Los instrumentos esenciales para la gestión y aplicación del plan de prevención de riesgos, que podrán ser llevados a cabo por fases de forma programada, son la evaluación de riesgos laborales y la planificación de la actividad preventiva.

A tal efecto a Halia Servex, S.L., realizará una evaluación inicial de riesgos para la seguridad y salud de los trabajadores, teniendo en cuenta, con carácter general, la naturaleza de la actividad, las características de los puestos existentes y de los trabajadores que deban desempeñarlos. Para la realización de dicha evaluación se tendrá en cuenta la información obtenida sobre la organización, características y complejidad del trabajo, sobre las materias primas y los equipos de trabajo existentes en la empresa y sobre el estado de salud de los trabajadores.

A los efectos previstos en el párrafo anterior se tendrá en cuenta la información recibida de los trabajadores sobre los aspectos señalados.

La evaluación será actualizada cuando cambien las condiciones de trabajo y, en todo caso, se someterá a consideración y se revisará, si fuera necesario, con ocasión de los daños para la salud que se hayan producido.

Si los resultados de dicha evaluación pusieran de manifiesto situaciones de riesgos, Halia Servex, S.L., realizará aquellas actividades preventivas necesarias para eliminar o reducir y controlar tales riesgos y que serán objeto de planificación en los términos legalmente previstos.

Una vez elaborada la evaluación inicial de riesgos, Halia Servex, S.L., adoptará las medidas necesarias para que los trabajadores reciban todas las informaciones necesarias (directamente y a través de los representantes de los trabajadores) en relación con:

a) L os riesgos para la seguridad y la salud de los trabajadores, tanto aquellos que afecten a la empresa en su conjunto como a cada tipo de puesto de trabajo o función.

b) L as medidas y actividades de protección y prevención aplicables a los riesgos señalados en el apartado anterior.

c) Las medidas de emergencia adoptadas en los términos previstos en el artículo 20 de la LPRL.

Los Delegados de Prevención tendrán acceso, con las limitaciones previstas en el apartado 4 del artículo 22 de la Ley de Prevención de Riesgos Laborales, a la información y documentación relativa a las condiciones de trabajo que sean necesarias para el ejercicio de sus funciones.

Igualmente recibirán de Halia Servex, S.L., las informaciones obtenidas procedentes de las personas u órganos encargados de las actividades de protección y prevención en la empresa, así como los organismos competentes para la seguridad y salud de los trabajadores.

c) Protección de la maternidad:

Si los resultados de la evaluación revelasen un riesgo para la seguridad y salud o una posible repercusión sobre el embarazo o la lactancia de las citadas trabajadoras, el empresario adoptará las medidas necesarias para evitar la exposición a dicho riesgo a través de una adaptación de las condiciones o del tiempo de trabajo de la trabajadora afectada.

La evaluación de riesgos a que se refiere el artículo 16 de la LPRL deberá comprender la determinación de la naturaleza, el grado y la duración de la exposición de las trabajadores en situación de embarazo o parto reciente a agentes, procedimientos o condiciones de trabajo que puedan influir negativamente en la salud de las trabajadoras o del feto, en cualquier actividad susceptible de presentar un riesgo especifico. Si los resultados de la evaluación revelasen un riesgo para la seguridad y la salud o una posible repercusión sobre el embarazo o la lactancia de las citadas trabajadoras, el empresario adoptará las medidas necesarias para evitar la exposición a dicho riesgo, a través de una adaptación de las condiciones o del tiempo de trabajo de la trabajadora afectada. Dichas medidas incluirán, cuando resulte necesario, la no realización de trabajo nocturno o de trabajo a turnos.

Cuando la adaptación de las condiciones o del tiempo de trabajo no resulte posible o, a pesar de tal adaptación, las condiciones de un puesto de trabajo pudieran influir negativamente en la salud de la trabajadora embarazada o del feto, y así lo certifiquen los Servicios Médicos del Instituto Nacional de la Seguridad Social o de las Mutuas, con el informe del médico del Servicio Nacional de la Salud que asista facultativamente a la trabajadora, ésta deberá desempeñar un puesto de trabajo o función diferente y compatible con su estado. El empresario deberá determinar, previa consulta con los representantes de los trabajadores, la relación de los puestos de trabajo exentos de riesgos a estos efectos.

El cambio de puesto o función se llevará a cabo de conformidad con las reglas y criterios que se apliquen en los supuestos de movilidad funcional y tendrá efectos hasta el momento en que el estado de salud de la trabajadora permita su reincorporación al anterior puesto.

En el supuesto de que, aun aplicando las reglas señaladas en el párrafo anterior, no existiese puesto de trabajo o función compatible, la trabajadora podrá ser destinada a un puesto no correspondiente a su grupo o categoría equivalente, si bien conservará el derecho al conjunto de retribuciones de su puesto de origen.

Si dicho cambio de puesto no resultara técnica u objetivamente posible, o no pueda razonablemente exigirse por motivos justificados, podrá declararse el paso de la trabajadora afectada a la situación de suspensión del contrato por riesgo durante el embarazo, contemplada en el artículo 45.1.d) del Estatuto de los Trabajadores, durante el período necesario para la protección de su seguridad o de su salud y mientras persista la imposibilidad de reincorporarse a su puesto anterior o a otro puesto compatible con su estado.

Lo dispuesto en este artículo será también de aplicación durante el período de lactancia, si las condiciones de trabajo pudieran influir negativamente en la salud de la mujer o del hijo y así lo certificase el médico que, en el régimen de Seguridad Social aplicable, asista facultativamente a la trabajadora.

Las trabajadoras embarazadas tendrán derecho a ausentarse del trabajo, con derecho a remuneración, para la realización de exámenes prenatales y técnicas de preparación al parto, previo aviso al empresario y justificación de la necesidad de su realización dentro de la jornada de trabajo.

d) Formación e información: La empresa garantizará que cada trabajador reciba una formación teórica y práctica, suficiente y adecuada, en materia preventiva, tanto en el momento de la contratación como cuando se produzcan cambios en las funciones que desempeñe o se introduzcan nuevas tecnologías o cambios en los equipos de trabajo. El diseño de dicha formación se llevara a cabo con el siguiente contenido: Conceptos básicos sobre seguridad y salud en el trabajo. Elementos básicos de gestión de la prevención de riesgos laborales. Riesgos generales y específicos. Medidas preventivas. Primeros auxilios. Principios de actuación en caso de emergencias.

e) Coordinación de actividades preventivas:

En virtud de lo previsto en el artículo 24 de la Ley de Prevención de Riesgos Laborales y en los términos establecidos por el Real Decreto 171/2004, los titulares de aquellas empresas donde se preste servicios deberán facilitar, siempre que las condiciones del servicio así lo requiera, la información y las instrucciones adecuadas, en relación con los riesgos existentes en el centro de trabajo y con las medidas de protección y prevención correspondientes, así como sobre las medidas de emergencia a aplicar con el fin de que sean conocidas por los trabajadores. Dicha información, cuando sea por escrito, se entregará a cada trabajador.

Los delegados de prevención y Comités de Seguridad y Salud Laboral asumirán las competencias previstas en los artículos 36 y 39 de la Ley de Prevención de Riesgos Laborales.

Artículo 26. Equipos de Protección Personal.

La empresa facilitará al personal dos juegos completos de prendas de trabajo, así como los equipos de protección que refleja la Ley de Protección de Riesgos Laborales. La empresa les facilitará también todas las herramientas necesarias para el desempeño de las funciones del puesto de trabajo.

En los casos de rotura involuntaria o deterioros inherentes al uso normal de las prendas de trabajo, equipos de protección y herramientas, serán sustituidos por la empresa.

Todas estas prendas, equipos y herramientas serán de cuenta de la empresa y de su propiedad.

Los trabajadores responderán del mal uso de las prendas, equipos y herramientas que se les entreguen.

Capítulo décimo. Faltas, sanciones y abusos de autoridad.

Artículo 27. Faltas.

Se consideran faltas las acciones u omisiones que supongan quebranto o incumplimiento de los deberes de cualquier índole impuestos por las disposiciones legales en vigor y en especial por el presente Convenio.

Los trabajadores podrán ser sancionados por la Dirección de la Empresa o por las personas que la misma determine, en virtud de incumplimientos laborales, de acuerdo con la graduación de faltas y sanciones que se establecen en este artículo.

Las faltas disciplinarias de los trabajadores, cometidas con ocasión o como consecuencia de su trabajo, podrán ser leves, graves y muy graves:

A) Serán faltas leves, las siguientes:

1. La incorrección con el público y con los compañeros o subordinados.

2. La no comunicación con la debida antelación de la falta al trabajo por causa justificada, a no ser que se pruebe la imposibilidad de hacerlo.

3. De una a tres faltas de puntualidad en la asistencia al trabajo sin la debida justificación, cometidas durante el período de diez días.

4. Faltar al trabajo un día en el mes, sin causa que lo justifique.

5. El abandono del trabajo sin causa justificada, aún cuando sea por tiempo breve. Si como consecuencia del mismo se causa perjuicios de alguna consideración a la empresa o fuese causa de accidente a sus compañeros de trabajo, esta falta podrá ser considerada como grave o muy grave, según los casos.

6. Las discusiones sobre asuntos extraños al trabajo durante la jornada. Si tales discusiones produjeran escándalo notorio, podrán ser consideradas como faltas graves.

7. No aportar tanto el parte de baja como el de alta médica (I.T.) en el plazo de tres días hábiles contando el día del hecho causante, salvo causas de fuerza mayor.

8. Pequeños descuidos en la conservación del material.

9. No comunicar el cambio de domicilio dentro de los días siguientes de haberse producido.

10. Dejar ropa, equipos y herramientas fuera de los sitios indicados para su conservación y custodia.

11. No fichar o marcar en el aparato de control a la entrada y salida al trabajo en aquellos departamentos donde este instaurado dicho sistema de control de presencia.

12. Y, en general, todos los demás hechos y omisiones de características análogas a las anteriores relacionadas.

B) Serán faltas graves las siguientes:

1. La desobediencia a los superiores en cualquier materia de trabajo, siempre en ejercicio regular de sus facultades de dirección; si implicase quebranto manifiesto en la disciplina o de ella se derivase perjuicio notorio para la empresa o compañeros de trabajo, se considerará falta muy grave.

2. Más de tres faltas no justificadas de puntualidad en la asistencia al trabajo, cometidas durante el periodo de veinte días. Cuando tuviese que relevar a un compañero, bastará una sola falta de puntualidad para que esta se considere grave.

3. Faltar dos días al trabajo durante un periodo de sesenta días sin causa que lo justifique.

4. Entregarse a juegos, cualquiera que sean, durante la jornada de trabajo.

5. El abandono de trabajo sin causa justificada catalogado en el punto 5 del apartado a).

6. La simulación de enfermedad o accidente.

7. Simular la presencia de otro trabajador firmando o fichando por él.

8. La simulación o encubrimiento de faltas de otros trabajadores en relación con sus deberes de puntualidad, asistencia y permanencia en el trabajo.

9. La negligencia o desidia en el trabajo que afecte a la buena marcha del mismo.

10. La imprudencia en actos de servicio, si implicase riesgo de accidente para él o sus compañeros o peligro de avería para las instalaciones, podrá ser considerada como falta muy grave.

11. La reincidencia en faltas leves, aunque sea de distinta naturaleza, dentro de un trimestre y habiendo mediado sanción.

12. La disminución voluntaria en el rendimiento normal de su labor durante tres días consecutivos o cinco alternos, en el periodo de treinta días.

13. Causar desperfectos en el material y en los equipos que la empresa pone a disposición de los trabajadores.

14. No comunicar con la puntualidad debida los cambios experimentados en la familia que puedan afectar a las prestaciones de la Seguridad Social. Si existiere malicia se considerará falta muy grave.

15. Y cuantas otras faltas tuvieran características análogas a las anteriores.

C) Serán faltas muy graves las siguientes:

1. Realizar sin el oportuno permiso, trabajos particulares durante la jornada, así como emplear para usos propios herramientas, productos o vehículos de la empresa, aún fuera de la jornada de trabajo sin autorización.

2. Más de cinco faltas repetidas e injustificadas de puntualidad en la asistencia al trabajo, cometidas en un periodo de dos meses.

3. Faltar al trabajo más de dos días consecutivos al mes sin causa justificada.

4. Las ofensas verbales o físicas a los legales representantes de la empresa o de las personas que trabajan en la empresa o a los familiares que convivan con ellos o a cualquier persona que se halle en el centro de trabajo o fuera del mismo durante el desarrollo de su actividad laboral.

5. La transgresión de la buena fe contractual, así como el abuso de confianza en el desempeño del trabajo.

6. La disminución continuada y voluntaria en el rendimiento del trabajo normal o pactado.

7. La embriaguez habitual o toxicomanía si repercuten negativamente en el trabajo.

8. La indisciplina o desobediencia en el trabajo. A estos efectos se consideran caso de indisciplina o desobediencia:

a) Los descuidos de importancia en la conservación de materiales o máquinas, cuando de dicho descuido se derive peligro para los compañeros de trabajo o perjuicio para la empresa.

b) Causar accidente grave por imprudencia o negligencia inexcusable.

c) Fumar en lugares en que esté prohibido por razones de seguridad e higiene.

d) Abandonar el trabajo en puesto de responsabilidad, sin previo aviso.

e) Originar frecuentes e injustificadas riñas y pendencias con sus compañeros de trabajo.

f) Revelar a persona extraña a la empresa datos de reserva obligada, produciendo sensibles perjuicios a

la misma. Asimismo dedicarse a actividades que impliquen competencia a la empresa.

9. Las derivadas de lo previsto en el punto 10 del apartado B).

10. La reincidencia en la comisión de faltas graves, aunque sean de distinta naturaleza, dentro de un periodo de seis meses, cuando hayan mediado sanciones por las mismas.

11. El fraude, la deslealtad en las gestiones encomendadas o el abuso de confianza en el trabajo, gestión o actividad; el hurto y el robo tanto a sus compañeros o a cualquier persona que se halle en el centro de trabajo o fuera del mismo, durante el desarrollo de su actividad laboral, así como cualquier conducta constitutiva de delito. 12. Incumplimiento del trabajador de las obligaciones en materia de prevención de riesgos a que se refiere el apartado 2.º del artículo 27 de la Ley 31/95, de Prevención de Riesgos Laborales.

13. El acoso por razón de origen racial o étnico, religión o convicciones, discapacidad, edad u orientación sexual y el acoso sexual o por razón de sexo al empresario o a las personas que trabajan en la empresa.

14. Causar desperfectos de forma intencionada o por negligencia inexcusable en las instalaciones, equipos y material de la empresa.

Se considerará rendimiento habitual y normal el que, sin haber mediado variaciones de las condiciones laborales, se viniese obteniendo de forma habitual y ordinaria, como mínimo, los últimos tres meses, siempre y cuando este rendimiento no sea inferior al normal.

El rendimiento se calculará por la relación existente entre la producción obtenida respecto a la producción exigible o por la obtenida entre tiempo exigible dividido por el tiempo empleado.

El rendimiento anteriormente citado está condicionado a que el resultado del trabajo esté dentro de las condiciones de calidad establecidas por el Departamento de Calidad, por lo que respecta para el personal de producción.

A los efectos de lo previsto en el artículo 27 del Convenio, en su apartado B) punto 12, se entenderá por disminución en el rendimiento normal cuando dicho rendimiento se cifre entre el coeficiente 80 y 90 inclusive, durante los días consignados en dicho punto 12.

A los efectos de lo previsto en este artículo 27, en su apartado C) punto 6, se entenderá por disminución en el rendimiento normal, cuando el rendimiento sea menor al coeficiente 80 y si se produce en cuatro días consecutivos o seis alternos en un plazo de 30 días naturales.

Artículo 28. Sanciones.

Las sanciones que podrán imponerse en función de la calificación de las faltas, serán las siguientes:

A) Por faltas leves:

Amonestación verbal, amonestación por escrito.

Suspensión de empleo y sueldo de hasta dos días.

B) Por faltas graves:

Suspensión de empleo y sueldo de tres a treinta días.

C) Por faltas muy graves:

Suspensión de empleo y sueldo de treinta y uno a ciento ochenta días.

Despido.

Todas aquellas faltas motivadas por faltas de asistencia o puntualidad no justificadas, con independencia de la sanción que podrá imponerse, llevarán aparejadas el descuento proporcional de las retribuciones correspondientes al tiempo real dejado de trabajar.

Artículo 29. Procedimiento sancionador.

Las sanciones por faltas muy graves requerirán la tramitación previa de expediente, de acuerdo con las siguientes normas:

1. La Dirección de la empresa comunicará por escrito al interesado la iniciación del expediente disciplinario, nombrando instructor del mismo a persona de administración, indicándole los cargos que se le imputan, con expresión de los hechos que lo motivan y norma cuya infracción se presume.

El trabajador podrá efectuar las alegaciones que estime pertinentes en defensa de sus derechos en un plazo de 24 horas.

2. Practicadas, en su caso, las pruebas que se estimen pertinentes (oído al trabajador), la propuesta de sanción, una vez confirmada, se procederá a notificar al interesado.

El presente procedimiento tiene carácter sumarísimo.

Artículo 30. Prescripción y cancelación de faltas.

Las faltas leves prescribirán a los diez días; las graves, a los veinte días y las muy graves a los sesenta días, a partir de la fecha en que Halia Servex, S.L., tuvo conocimiento de su comisión y, en todo caso, a los seis meses de haberse cometido.

Dichos plazos quedarán interrumpidos por cualquier acto propio del expediente instruido o preliminar del que pueda instruirse aun cuando dicho expediente haya sido aperturado de forma voluntaria por la empresa, en su caso, siempre que la duración de este, en su conjunto, no supere el plazo de seis meses sin mediar culpa del trabajador expedientado.

Los jefes superiores que toleren o encubran las faltas de los subordinados incurrirán en responsabilidad y sufrirán la actuación disciplinaria que se estime procedente, habida cuenta de la que se imponga al autor y de la intencionalidad, perturbación para el trabajo, atentado a la dignidad de la empresa y reiteración o reincidencia de dicha tolerancia o encubrimiento.

Las faltas que hayan generado sanción se cancelarán por el transcurso del tiempo según la siguiente relación:

Por faltas leves, seis meses desde su notificación.

Por faltas graves, dieciocho meses desde su notificación.

Por faltas muy graves, treinta y seis meses desde su notificación.

Artículo 31. Abuso de autoridad.

El abuso de autoridad por parte de los jefes se considerará siempre como falta muy grave. El que los sufra deberá ponerlo inmediatamente en conocimiento de la Dirección de la Empresa.

Todo trabajador podrá dar cuenta por escrito, de los actos que supongan falta de respeto a su intimidad o a la consideración debida a su dignidad humana o laboral. La Dirección de la Empresa abrirá la oportuna información e instruirá, en su caso, el expediente disciplinario que proceda.

Capítulo undécimo. Derecho de representación y negociación colectiva.

Artículo 32. Representación y reunión.

Los derechos de representación colectiva y de reunión de los trabajadores de la Empresa Halia Servex, S.L., vienen determinados por lo dispuesto en el Título II de el R.D. Legislativo 1/95, en concordancia con lo prevenido en la Ley Orgánica 11/85.

Artículo 33. Negociación Colectiva.

En la negociación colectiva se estará a lo dispuesto en el Título III del Real Decreto Legislativo 1/95, por el que se aprueba el Texto Refundido del Estatuto de los Trabajadores y la Ley Orgánica 11/85.

Capítulo duodécimo. Jubilaciones.

Artículo 34. Jubilación parcial.

Con objeto de favorecer el relevo generacional y la armonización de los nuevos conocimientos con la experiencia adquirida, la empresa y los trabajadores se comprometen a fomentar los contratos de relevo y formalizarlos en las siguientes condiciones: Cuando se cumplan los requisitos legales para que el trabajador a relevar reúna las condiciones generales exigidas para tener derecho a la pensión contributiva de la Seguridad Social y desee acceder a la jubilación parcial, la empresa atenderá la petición de todos aquellos trabajadores que manifiesten por escrito su voluntad de acceder a la misma, condicionada la petición a las siguientes circunstancias:

Se supedita a la existencia y disposición de trabajador o candidato con la cualificación adecuada para sustituir al que se jubila parcialmente.

Necesidad, para su concesión, que entre empresa y trabajador se llegue a un acuerdo escrito previo por lo que respecta a la forma en la que trabajará el porcentaje de jornada que se mantiene, pudiéndose pactar la acumulación del tiempo de trabajo del empleado en una determinada época del año.

La jubilación obligatoria se fija en la edad que en cada momento se establezca legalmente.

Disposición final primera.

Todas las referencias a los trabajadores, del presente texto, así como en sus anexos, se entenderá efectuada indistintamente a la persona hombre o mujer que prestan servicios en la empresa, sin que exista discriminación por razón de sexo, existiendo principio de igualdad en el acceso a los puestos o categorías profesionales e igualdad de remuneración.

Anexo I. Clasificación personal, grupos y definiciones.

Primero. Clasificación del Personal.

Las clasificaciones del personal consignadas en este Convenio son meramente enunciativas y no suponen la obligación de tener provistas todas las plazas, oficios y ocupaciones que después se enumeran, si las necesidades y volumen de la empresa no lo exigen.

Son asimismo enunciativos los distintos cometidos asignados a cada categoría o especialidad, pues, cuando las necesidades de la actividad lo requieran, los trabajadores que no tuvieran ocupación en las funciones habituales señaladas a su clasificación y categoría laboral podrán ser destinados a realizar otros trabajos propios del grupo asignado al que pertenezcan.

Clasificación según la función. El personal se clasifica y distribuye, en los grupos profesionales que a continuación se indican:

1. Personal Técnico y de Dirección.

2. Personal Administrativo.

3. Personal de Producción.

4. Personal de Distribución.

Grupo I. Personal Técnico y de Dirección.

A) Técnicos Titulados Superior.

B) Técnico Titulado.

C) Técnico no Titulado.

Grupo II. Personal Administrativo y de Oficinas.

1. Delegado de Zona.

2. Jefe Administrativo.

3. Oficial Administrativo 1ª

4. Oficial Administrativo 2ª

5. Auxiliar Administrativo.

6. Trabajador en formación Auxiliar Administrativo.

Grupo III. Personal de Producción.

1. Encargado de Sección.

2 Oficial 1ª

3 Oficial 2ª

4. Jefe de Mantenimiento.

5. Oficial de Mantenimiento.

6. Jefe de Almacén.

7. Peón.

Grupo IV. Personal de Distribución.

1. Conductor-repartidor-cobrador.

2. Conductor largo recorrido.

3. Conductor.

Segundo. Definiciones.

Grupo I. Personal Técnico y de Dirección.

1. Técnico Titulado Superior: Es el que poseyendo un título profesional oficial de carácter universitario o de Escuela Técnica de grado superior, realiza en la empresa funciones propias de su profesión y son retribuidos de manera exclusiva o preferente mediante sueldo o tanto alzado y sin sujeción, por consiguiente, a la escala habitual de honorarios en su profesión respectiva siendo contratado por la empresa a razón de su título profesional.

2. Técnico Titulado: Es aquel que, poseyendo título profesional de grado medio, lleva a cabo dentro de la industria funciones específicas para las que ha sido contratado en virtud de su titulo.

3. Técnico no titulado: Es el que sin necesidad de título profesional alguno, por su preparación, reconocida competencia y práctica en todas o alguna de las fases del proceso elaborativo o servicio de la industria, ejerce funciones de carácter ejecutivo o técnico especializado. En la presente definición se incluye el Encargado general, cuando no ostente titulo facultativo o técnico.

Grupo II. Personal Administrativo y de oficinas.

1. Delegado de Zona: Es aquel empleado que dirige, organiza y supervisa la Delegación de la empresa, atendiendo asimismo a la clientela de la zona adscrita.

2. Jefe Administrativo: Es aquel empleado que actúa a las órdenes de la Gerencia o del Director de Personal o del Director de Administración y siguiendo sus directrices organiza el departamento de administración y bajo su responsabilidad adopta decisiones en el trabajo a ejecutar.

3. Oficial Administrativo 1ª: Es el empleado que, provisto de poderes o no, lleva la responsabilidad y dirección de una o más secciones administrativas, imprimiéndolas unidad y dirigiendo y distribuyendo trabajo. Queda incluido en esta categoría el Jefe de Personal.

4. Oficial Administrativo 2ª: Es el empleado que con iniciativa y responsabilidad restringida y subordinado a un Oficial 1ª, si los hubiese, realiza trabajos de carácter secundario que solo exigen conocimientos generales de la técnica administrativa.

5. Auxiliar Administrativo: Es el empleado que se dedica a operaciones elementales administrativas y en general las puramente mecánicas inherentes al trabajo de oficina o despacho.

6. Trabajador en formación Auxiliar Administrativo: El empleo referido tendrá por objeto la adquisición de la formación para el desempeño adecuado del oficio de Auxiliar Administrativo.

Grupo III. Personal de Producción.

1. Encargado de Sección: Es el trabajador, que bajo las órdenes del Director de Producción, si lo hubiere, por su experiencia y conocimientos prácticos en el proceso de transformación o industrialización de la empresa está encargado de la producción, siendo de su responsabilidad el general cumplimiento de las ordenes que reciba respecto a su cargo y de la perfección de la obra realizada por el personal que se encuentra bajo su mando. Asimismo realiza faenas delicadas que exigen especial práctica y aptitud, o de acuerdo con las instrucciones recibidas de sus superiores, tiene a su cargo la vigilancia, enseñanza y corrección de las labores que se realizan por el personal.

2. Oficial 1ª: Es el operario que, en el trabajo de producción, poseyendo conocimientos, en el manipulado y elaboración de la materia prima, los practica y aplica con capacidad y celo demostrado, con tal grado de perfección que no sólo le permite llevar a cabo trabajos generales y ordinarios del mismo sino aquellos otros que suponen especial empeño y delicadeza, encontrándose capacitado para corregir deficiencias en las faenas o máquinas que tengan encomendadas.

3. Oficial 2ª: Es el operario que, sin llegar a la especialización exigida por los trabajos perfectos, ejecuta los correspondientes a la manipulación y elaboración de la materia prima con la suficiente corrección y eficacia.

4. Jefe de Mantenimiento: Organiza y dirige las tareas de mantenimiento, conservación y reparación del continente y contenido del centro de trabajo.

5. Oficial de Mantenimiento: Es el operario cualificado que tiene encomendada la labor de mantenimiento de las instalaciones, maquinarias, locales, etc. de la Industria, realizando a título enunciativo y no limitativo labores de reparación, conservación y entretenimiento de las máquinas, instalaciones eléctricas, de conducciones, de albañilería, etc. Estando encargado asimismo de la puesta en marcha de las máquinas de producción cuando por delegación se le encomienda dichas funciones.

6. Jefe de Almacén: Controla las entradas, almacenamiento y salidas de los productos en dichas instalaciones, siguiendo instrucciones de ubicaciones, stocks, etc. del departamento de Administración, avisando a su superior inmediato y al referido Departamento de cualquier anomalía en el funcionamiento o en el almacenamiento.

7. Peón: Es el operario que realiza las faenas correspondientes al peonaje; en general prestará servicios indistintamente en cualquier servicio o sección.

Con carácter enunciativo sus labores se centrarán en la limpieza, manipulado y envasado del producto, bajo la asistencia del o los Oficiales y supervisión del Encargado de Sala.

Asimismo estará encargado de la limpieza y conservación de las instalaciones.

Grupo IV. Personal de Distribución.

1. Conductor Repartidor Cobrador: Es el trabajador que en posesión del carnet de conducir de la clase que corresponda, efectúa el reparto domiciliario a los clientes de la empresa, y de las operaciones de carga y descarga. Efectuará pedidos e igualmente cobrará el género entregado. Tendrá conocimientos de mecánica del automóvil para realizar las reparaciones normales que no exijan medios o personal especializado, responsabilizándose de la carga y de su buena conservación así como la del vehículo, observando la puntualidad debida en el reparto encomendado por el responsable del Departamento.

2. Conductor largo recorrido: Es el conductor de vehículo pesado, articulado, con remolque o características similares, que bajo las ordenes del responsable de Expedición, estando en posesión del carnet de conducir de la clase que le corresponda, realiza largos recorridos previa indicación de ruta. Será responsable del estado de conservación del vehículo teniendo conocimientos mecánicos de automóvil suficientemente probados, realizará por si las reparaciones que sean necesarias en ruta siempre que no exijan medios o personal especializado. Dirigirá la carga y descarga del género ayudando en lo posible a ejecutar dichas tareas, respondiendo de la carga. Le corresponde ceder o exigir en cada caso los resguardos o recibos correspondientes a las mercancías. Confeccionará un parte escrito del servicio efectuado v del estado del camión.

3. Conductor. Es el conductor, que en posesión de carnet de conducir, efectúa el reparto y entrega de género, colaborando en la carga y descarga de la mercancía y bajo las órdenes del responsable del Departamento de Expedición.

 

Imagen

Imagen

Imagen